Пуловер с короткими рукавами
Размеры: 36/38 (40/42) 44/46
Вам потребуется: 250 (250) 300 г чёрной, 150 г белой, 100 (150) 150 г светло-коричневой пряжи Eco-Cotton (100% хлопка, 120 м/50 г), крючок №4, круговые спицы №3,5
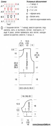
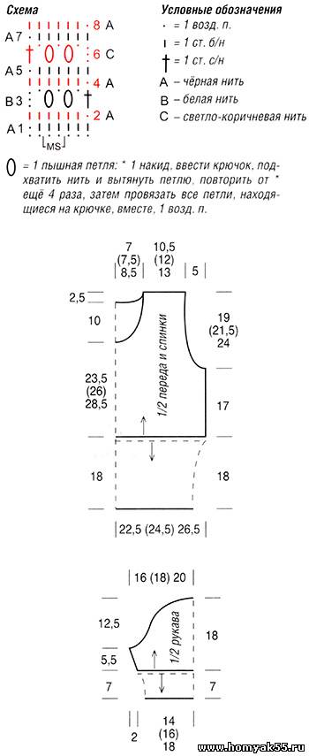
Внимание! Стрелки на выкройке - направление вязания.
Резинка: попеременно 1 лиц. петля, 1 изн. петля.
Изнаночная гладь: в круговых рядах вязать только изн.
Полосатый узор: число петель кратно 2 + 1. Вязать по
схеме. Начинать с петель перед раппортом, повторять петли раппорта,
заканчивать петлёй после раппорта. Выполнить 1 раз с 1-го по 8-й ряды,
затем повторять с 3-го по 8-й ряды.
Плотность вязания, полосатый узор: 16 п.етель и 13 рядов = 10 х 10 см.
Описание работы
Спинка
Крючком чёрной нитью связать цепочку из 73 (79) 85 ВП + 1 ВП подъёма и вязать полосатым узором.$CUT$ Через 17 см = 22 ряда от наборного края оставить для пройм с обеих сторон 2 петли и в каждом ряду 6 х 1 петле = 57 (63) 69 петель. Через 33,5 см = 44 ряда (36 см = 47 рядов) 38,5 см = 50 рядов от наборного края оставить для выреза горловины средние 19 (21) 23 петель и обе стороны вязать раздельно. Для закругления оставить с внутреннего края в каждом ряду 2 х 1 петле. Через 36 см = 47 рядов (38,5 см = 50 рядов) 41 см = 53 ряда от наборного края работу закончить.
Перед
Вязать, как спинку, но с более глубоким вырезом горловины. Для этого через 23,5 см = 31 ряд (26 см = 34 ряда) 28,5 см = 37 рядов от наборного края оставить средние 9 (11) 13 петель и в каждом 2-м ряду 7 х 1 петле.
Рукава
Крючком чёрной нитью связать цепочку из 45 (51) 57 ВП +1 ВП подъёма и вязать полосатым узором, начав с 4-го ряда схемы. Для скосов рукава прибавить с обеих сторон в каждом 2-м ряду 3 х 1 петле = 51 (57) 63 петля, включая прибавляемые петли в узор. Через 5,5 см = 7 рядов от наборного края оставить для оката рукава с обеих сторон 2 петли и в каждом ряду 15 × 1 петле. Через 17,5 см = 23 ряда от наборного края связать на оставшихся 17 (23) 29 петлях чёрной нитью 1 ряд СБН и работу закончить.
Сборка
Выполнить плечевые швы; втачать рукава, выполнить боковые швы и швы рукавов. Для нижней планки по нижнему краю на круговые спицы чёрной нитью набрать 160 (180) 200 петель, связать круговыми рядами 18 см резинкой и петли закрыть по рисунку. Для планок по краям рукавов на круговые спицы чёрной нитью набрать по 48 (64) 80 петель, связать круговыми рядами 7 см резинкой и петли закрыть по рисунку. По вырезу горловины на круговые спицы чёрной нитью набрать 90 (94) 98 петель, связать круговыми рядами 2 см = 4 ряда изн. гладью и петли закрыть лиц.
Схема





